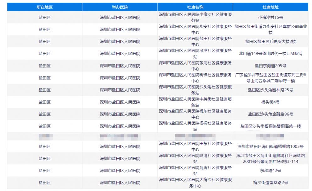
截至2025年11月30日,深圳市盐田区人民医院下属14家社康同步上线省内个人账户家庭共济业务。深圳正常参保的职工医保参保人在就医时,可将其个人账户授权给省内已参保的家庭成员使用。
省内个账家庭共济
截至2025年11月30日,深圳市盐田区人民医院下属14家社康同步上线省内个人账户家庭共济业务。深圳正常参保的职工医保参保人在就医时,可将其个人账户授权给省内已参保的家庭成员使用。

相关问答
家庭共济后,家庭成员医保个人账户如何使用?
答:深圳参保人与家庭成员办理了家庭共济绑定后,家庭成员可选择深圳参保人或本人个人账户作为其主卡。选择深圳参保人个人账户为主卡的,其符合参保地规定的费用从深圳参保人个人账户进行支出;家庭成员选择其本人个人账户作为主卡的,其符合参保地规定的费用从本人个人账户进行支出。
没有开通医保个人账户活化功能,为什么个人自付部分费用也从个人账户进行支付了?
答:深圳参保人在省内共济试点机构就诊的,不看是否开通个人账户活化功能,其符合规定的费用可从参保人个人账户进行支出。参保人不想用个人账户进行支付的,在结算前告知就诊医疗机构不使用个账支付即可。
温馨提示:微信搜索公众号【深圳本地宝】,关注后在对话框回复【医保共济】获取深圳医保共济怎么绑定家人,绑定后怎么使用,深圳地区省内共济试点机构名单,个账消费主卡设置入口及流程等内容